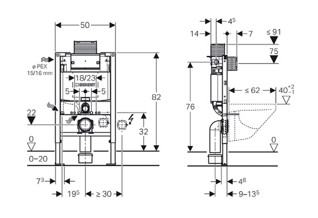
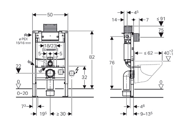
Duofix Omega låg

WC-fixtur för manövrering framifrån,ovanifrån eller via pneumatisk tryckknapp. 3/6 litersspolning.
R15 utv.gg för ansl. av inkommande vatten från vänster. Pex-koppling för 15x2,5 & 16x2,2 medföljer.
Info Art nr Dok Benämning Typ 1 Typ Bruttopris exkl. moms Bruttopris inkl. moms Lagersaldo
Z6150
DUOFIX OMEGA H82 WC-FIXTUR 111.007.00.2
Sigma
Låg
4 128,00 5 160,00